磨床配件系列[ EDM, 線切割萬力, 放電加工萬力, 角度治具, 正弦磁座 ]在精密研磨與加工中,除了砂輪與磨床本身,研磨配件扮演著輔助定位、固定與校正的重要角色。常見的配件包括 角度墊塊(Angle Blocks)、平行板(Parallel Blocks / Parallels)、V 型塊(V-Blocks)。這些配件能幫助工件在磨削過程中保持穩定與精準,提高加工效率與產品品質。如何挑選合適的
产品详情
磨床配件系列
[ EDM, 線切割萬力, 放電加工萬力, 角度治具, 正弦磁座 ]
在精密研磨與加工中,除了砂輪與磨床本身,研磨配件扮演著輔助定位、固定與校正的重要角色。常見的配件包括 角度墊塊(Angle Blocks)、平行板(Parallel Blocks / Parallels)、V 型塊(V-Blocks)。
這些配件能幫助工件在磨削過程中保持穩定與精準,提高加工效率與產品品質。
如何挑選合適的磨床研磨配件?
根據工件材質與形狀,選擇適合的配件(角度、平行、V 型)。
確認配件的 精度等級(如 ±0.005mm)。
考慮耐用度與加工環境。
選擇具有良好品牌信譽與售後服務的產品。
角度墊塊 / 正弦座 /V型塊
磁性V型座 : 用於固定圓柱形或圓軸工件,提供穩定夾持與高精度定位,方便加工與檢測。
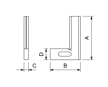
台湾米其林33090 精密角度板
型号:MCL-TX304 / MCL-TX306 / MCL-TX308 / MCL-TX310 / MCL-TX312
● 適用垂直度和水平度之量測。
● 採用高級合金鋼製成,並經過精密研磨。
● 兩邊斜邊刀口狀,內角有一凹槽,方便精準。
● 直角精密度:100mm/0.004mm內。
● 材質:SKS3. 硬度:HRC60°±2
單位:mm
| 訂購編號 | 型號 | A | B | C | D | 重量 (kg) |
| 33090-04 | MCL-TX304 | 100 | 70 | 8 | 25 | 0.2 |
| 33090-06 | MCL-TX306 | 150 | 100 | 8 | 30 | 0.4 |
| 33090-08 | MCL-TX308 | 200 | 130 | 10 | 35 | 0.7 |
| 33090-10 | MCL-TX310 | 250 | 160 | 12 | 40 | 1.1 |
| 33090-12 | MCL-TX312 | 300 | 200 | 15 | 40 | 1.7 |












全国服务热线